来源:山东财经报道

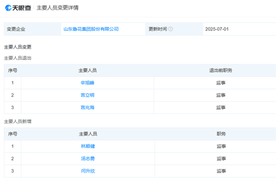
天眼查显示,6月30日,中国食用油龙头企业山东鲁花集团有限公司(下称“鲁花集团”)完成股改,公司名称变更为山东鲁花集团股份有限公司,注册资本从约10.91亿元增至20亿元,同时宫兆海、辛旭峰、宫立明等集团元老退出监事会。

据官网介绍,鲁花集团成立于1983年,是中国高端食用油的引领者、中国花生油第一品牌、农业产业化国家重点龙头企业,横跨食用油、调味品、米面等多个行业,食用油年生产能力150万吨,调味品年生产能力30万吨,米面年加工能力50万吨。
今年1月,鲁花集团已完成股东架构调整,新成立的山东鲁花控股集团有限公司(下称“鲁花控股”)获得孙孟全家族控制的山东福花道生投资有限公司、山东牡丹花道生投资有限公司、山东华易生生投资有限公司、山东鲁花生生投资有限公司所持鲁花集团股份,成为第一大股东。
天眼查显示,鲁花控股今年1月8日成立,注册资本20亿元,股东正是孙孟全家族控制的上述4家公司,公司实际控制人是孙孟全,法定代表人、副董事长、总经理是孙孟全之子孙东伟。
除了成为鲁花集团大股东外,鲁花控股成立后,还获得了鲁花道生集团有限公司100%股权,山东鲁花道生集团有限公司100%股权,青岛鲁花天顺能源物流有限公司100%股权,这3家企业都是孙孟全家族控股的资产平台。2025年4月,鲁花控股成立全资子公司山东鲁花投资有限公司,注册资本2亿元,经营范围包括以自有资金从事投资活动,创业投资,以私募基金从事股权投资、投资管理、资产管理等。
本次变动中,鲁花集团注册资本从约10.91亿元增至20亿元,增资完成后,鲁花控股仍旧是鲁花集团大股东,持股64.19%,实际控制人仍是孙孟全,香港嘉银(莱阳)有限公司、金龙鱼(300999.SZ)是鲁花集团第二、第三大股东,分别持股15.69%、10.95%。
本次变动还涉及人事调整,鲁花集团3位监事辛旭峰、宫立明、宫兆海退出,新增3位监事林顺健、汤志勇、闫升欣。退出的3人都是鲁花集团元老,鲁花集团官方微信公众号今年一季度发布的消息显示,辛旭峰为集团总裁,宫兆海为集团执行总裁。

值得注意的是,今年5月,宫兆海曾被潍坊市青州市人民法院限制高消费。据天眼查及公开报道,5月22日,青州市人民法院向鲁花集团全资子公司鲁花五常市米业有限公司及法定代表人宫兆海发出限制消费令,原因是借款合同纠纷中没有按执行通知书指定的期间履行生效法律文书确定的给付义务。
对于鲁花集团本次股改及增资等变动事宜,有分析人士认为,此举或意味着鲁花集团上市筹备工作将进入加速阶段。
据了解,鲁花集团多年前就已开始着手寻找券商等工作,2024年至今已基本完成公司非主业资产向母公司鲁花控股划转的工作。



发表评论
2025-07-01 19:13:09回复